Chevrolet Code 82 Reset Fuse blazer chevy blows lights dash jimmy radiator obd reader vehicles works fine ii code hatch headlights quite working none
If you are searching about Opel Adam Code 82 - Opel ADAM 1.4 TWINPORT 87CH GLAM START/STOP d you've visit to the right place. We have 16 Pics about Opel Adam Code 82 - Opel ADAM 1.4 TWINPORT 87CH GLAM START/STOP d like Chevy Spark code 82 reset - YouTube, Code 43: My Truck Shows Code 43 but Had No Plug for the Electronic... and also Code 43: My Truck Shows Code 43 but Had No Plug for the Electronic.... Read more:
Opel Adam Code 82 - Opel ADAM 1.4 TWINPORT 87CH GLAM START/STOP D

Chevy Spark Code 82 Reset - YouTube

spark code chevy
I Have A 2000 Chevy Express With A 7.4 Code P1351 Comes Up Checked All

chevy 2000 code wires wont same start
What Does Error Code 17 Mean?

chevy diesel turbo 1995 error does pump code mean truck start mechanic technician thomas justanswer question ask own
I Have An OBD II Code Reader That Works Fine On All Other Vehicles

fuse blazer chevy blows lights dash jimmy radiator obd reader vehicles works fine ii code hatch headlights quite working none
1994 Chevy S-10 Code 23 Help: After Looking Up This Code,

How To Check Engine Codes Without A Code Reader Chevy!

affiliate
CHEVROLET CAMARO CONV FENDER RIGHT OEM#20943622 2011-2015 PL#GM1241365

paintedautobodyparts
1990 Ford F Super Duty Cars For Sale
ford super duty 1990 cars 1998 texas cost sample
Product – Budweg

budweg
Service Theft Deterrent System Ne Demek - SERVICEUS

deterrent demek
Product – Budweg

budweg
Read OBD1 CHECK ENGINE Codes CHEVY GMC 1982-1995 Without Reader Using A

codes gmc check obd1 engine chevy clip paper
Code 43: My Truck Shows Code 43 But Had No Plug For The Electronic...

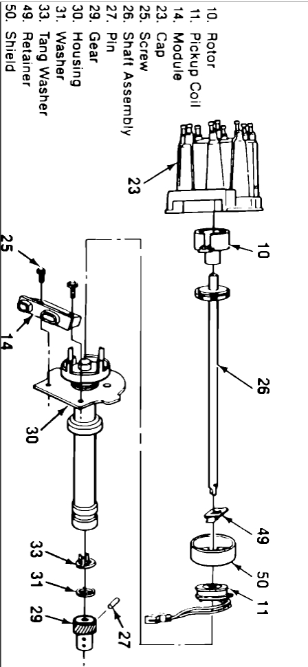
distributor ignition code spark truck coil start sponsored links chevy silverado pickup 2carpros 1993 won
Code 43: My Truck Shows Code 43 But Had No Plug For The Electronic...

Cómo Restablecer El Indicador De Aceite De Un Chevrolet... | Doovi

Ford super duty 1990 cars 1998 texas cost sample. Fuse blazer chevy blows lights dash jimmy radiator obd reader vehicles works fine ii code hatch headlights quite working none. Distributor ignition code spark truck coil start sponsored links chevy silverado pickup 2carpros 1993 won
Komentar
Posting Komentar